勘误表 (1)
-
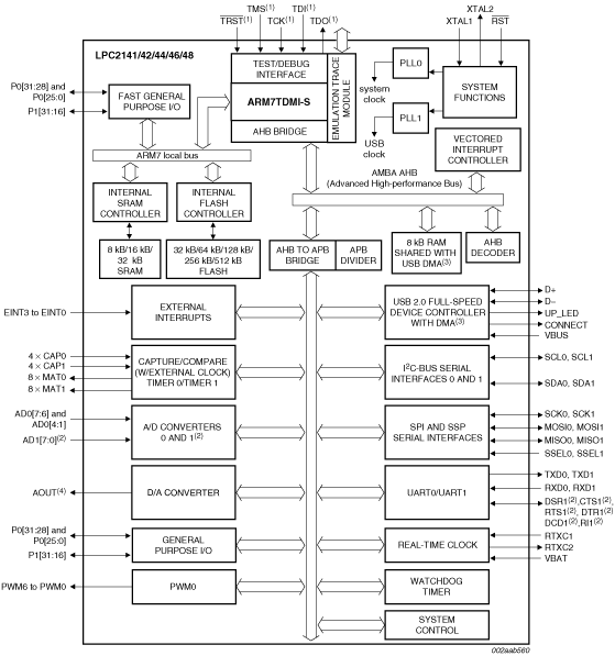
Errata sheet LPC2141/42/44/46/48[ES_LPC214X]
包装信息 (1)
封装信息 (1)
应用笔记 (21)
-
Using IAP for LPC2000 Arm® devices[AN10256]
-
UUencoding for UART ISP[AN11229]
-
Migrating to the LPC1700 series[AN10878]
-
AN10760[AN10760]
-
uC/OS-II Time Management in LPC2000[AN10413]
-
Migrating to the LPC2300/2400 family[AN10576]
-
Entering ISP mode from user code[AN10356]
-
Power management for LPC2138[AN10421]
-
Nesting of interrupts in the LPC2000[AN10381]
支持信息 (4)
-
ADC design guidelines[TN00009]
-
Footprint for wave soldering[HTQFP-HLQFP-LQFP-MSQFP-WAVE]
-
Footprint for wave soldering[SSOP-TSSOP-VSO-WAVE]
数据手册 (1)
用户指南 (1)
-
LPC214x User manual[UM10139]

