勘误表 (2)
-
Errata sheet LPC2292/01, LPC2294/01[ES_LPC2292_94_01]
-
Errata sheet LPC2292, LPC2294, LPC2292/00, LPC2294/00[ES_LPC2292_94_00]
封装信息 (1)
应用笔记 (19)
-
Using IAP for LPC2000 Arm® devices[AN10256]
-
UUencoding for UART ISP[AN11229]
-
Migrating to the LPC1700 series[AN10878]
-
uC/OS-II Time Management in LPC2000[AN10413]
-
Getting started uClinux with LPC22xx[AN10389]
-
Migrating to the LPC2300/2400 family[AN10576]
-
Philips LPC2000 CAN driver[AN10438]
-
Nesting of interrupts in the LPC2000[AN10381]
-
AN10369[AN10369]
手册 (1)
-
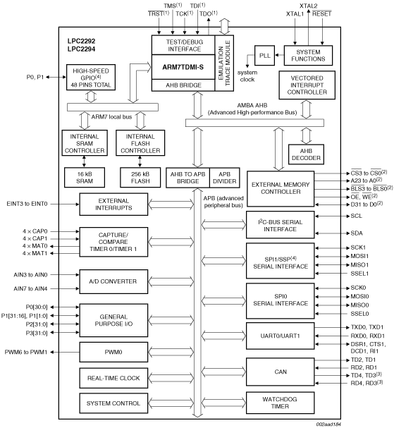
Arm7™-based MCUs with up to 256-KB Flash and 4x CAN[LPC229XWITH4XCAN]
支持信息 (2)
-
ADC design guidelines[TN00009]
数据手册 (1)
用户指南 (1)
-
LPC21xx and LPC22xx User manual[UM10114]

