单芯片16/32位微控制器;高达128 kB的ISP/IAP闪存、以太网、USB 2.0设备/主机/OTG、CAN以及10位ADC/DAC

查看产品图片

产品详情

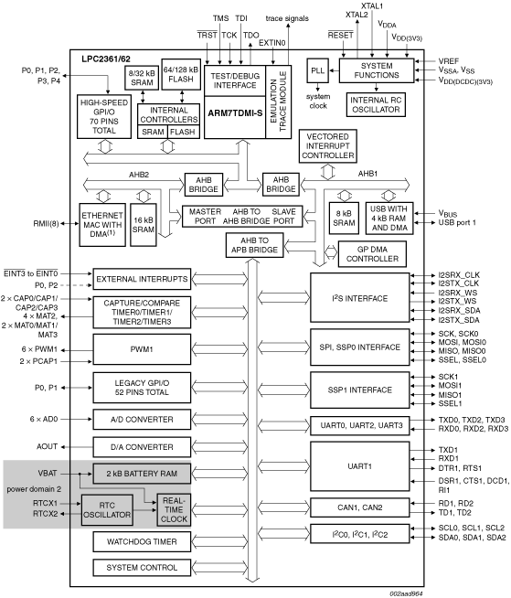
框图

Block diagram: LPC2361FBD100, LPC2362FBD100

特征

  • Arm7TDMI-S处理器,运行频率高达72 MHz。
  • 高达128 KB的片上Flash程序存储器,实现在系统编程(ISP)和在应用编程(IAP)功能。Flash程序存储器位于Arm局部总线,可实现高性能CPU访问。
  • Arm局部总线上的8 kB(LPC2361)或32 kB(LPC2362) SRAM可实现高性能CPU访问。
  • 用于以太网接口的16 kB SRAM。也可作为通用SRAM。
  • 用于通用DMA的8 KB SRAM也可通过USB访问。
  • 双路先进高性能总线 (AHB)系统允许片上闪存同时执行以太网DMA (仅限LPC2362)、USB DMA和程序,而无功能冲突。总线桥允许以太网DMA访问其它AHB子系统。
  • 先进矢量中断控制器(VIC),支持最多32个矢量中断。
  • AHB上的通用DMA(GPDMA)控制器,可用于SSP串行接口、I²S端口以及内存到内存的传输。
  • 串行接口:
    • 以太网MAC以及相关的DMA控制器(仅限LPC2362)。这些功能位于一个独立AHB中。
    • USB 2.0设备/主机/OTG,带片内PHY和相关DMA控制器。
    • 带小数波特率生成器的4个UART,1个带调制解调器控制I/O,1个带IrDA支持,全部都带FIFO。
    • 双通道CAN控制器。
    • SPI控制器。
    • 2个SSP控制器,带FIFO和多协议功能。一个是SPI端口的备用端口,共享其中断和引脚。可用于GPDMA控制器。
    • 3个I²C总线接口(一个带开漏输出,两个带标准端口引脚)。
    • I²S(音频芯片互联)接口,用于数字音频输入或输出。可用于GPDMA。
  • 其它外设:
    • 70个通用I/O引脚,带可配置的上拉/下拉电阻。
    • 输入在6个引脚中多路复用的10位ADC。
    • 10位DAC。
    • 4个通用定时器/计数器,带总共8个捕获输入和10个匹配输出。每个定时器块都有一个外部计数输入。
    • 一个PWM/定时器模块,支持三相电机控制。PWM拥有2个外部计数输入。
    • 实时时钟(RTC)带独立电源引脚,时钟源可以是RTC振荡器或APB时钟。
    • 2 kB SRAM由RTC电源引脚供电,在芯片其它部分断电时仍允许数据存储。
    • 看门狗定时器(WDT)。WDT可用内部RC振荡器、RTC振荡器或APB时钟作为时钟源。
  • 与现有工具兼容的标准Arm测试/调试接口。
  • 支持实时跟踪的仿真跟踪模块。
  • 3.3 V单电源(3.0 V至3.6 V)。
  • 4种低功耗模式:空闲模式、睡眠模式、掉电模式和深度掉电模式。
  • 四个可配置为边沿/电平触发的外部中断输入。所有端口0和端口2上的GPIO引脚均可用作边沿敏感型中断源。
  • 处理器通过任何可在掉电模式中运行的中断从掉电模式唤醒(包括外部中断、RTC中断、USB活动、以太网唤醒中断)。
  • 两个独立的电源域,允许根据所需要功能进行功耗微调。
  • 为进一步节电,每个外设都有其自己的时钟分频器。
  • 采用中断和强制复位的独立阀值进行掉电检测。
  • 片上上电复位。
  • 工作范围从1 MHz到25 MHz的片上晶体振荡器。
  • 4 MHz内部RC振荡器,将精度校准到1 %,可选择性地用作系统时钟。用作CPU时钟时,不允许CAN和USB运行。
  • 一个片上PLL允许CPU以最大CPU速率运行, 而不需要一个高频率晶振。可从主振荡器、内部RC振荡器或RTC振荡器运行。
  • 通用引脚功能选择为使用片上外设功能提供了更多可能性。

目标应用

  • 工业控制
  • 医疗系统
  • 协议转换器
  • 通信

购买/参数










































































































文档

快速参考恩智浦 文档类别

1-10 / 16 文件

紧凑列表

勘误表 (2)
封装信息 (1)
应用笔记 (6)
手册 (3)
支持信息 (2)
数据手册 (1)
用户指南 (1)

设计资源

设计文件

快速参考恩智浦 设计文件类型.

2 设计文件

软件

快速参考恩智浦 软件类型.

2 软件文件

注意: 推荐在电脑端下载软件,体验更佳。

支持

您需要什么帮助?