勘误表 (2)
-
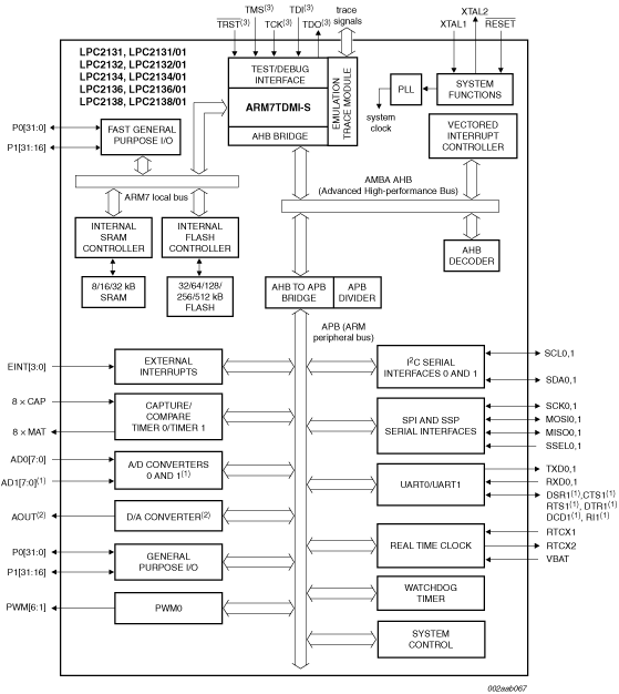
Errata sheet LPC2136/01[ES_LPC2136_01]
-
Errata sheet LPC2136[ES_LPC2136]
包装信息 (1)
封装信息 (1)
应用笔记 (20)
-
NXP LPC2000 IEC60335 Class B library[AN11498]
-
Using IAP for LPC2000 Arm® devices[AN10256]
-
UUencoding for UART ISP[AN11229]
-
Migrating to the LPC1700 series[AN10878]
-
uC/OS-II Time Management in LPC2000[AN10413]
-
Migrating to the LPC2300/2400 family[AN10576]
-
Entering ISP mode from user code[AN10356]
-
Power management for LPC2138[AN10421]
-
Nesting of interrupts in the LPC2000[AN10381]
支持信息 (2)
-
Footprint for wave soldering[HTQFP-HLQFP-LQFP-MSQFP-WAVE]
数据手册 (1)
用户指南 (1)
-
LPC2131/2/4/6/8 User manual[UM10120]

