带有高速CAN的系统基础芯片

查看产品图片

产品详情

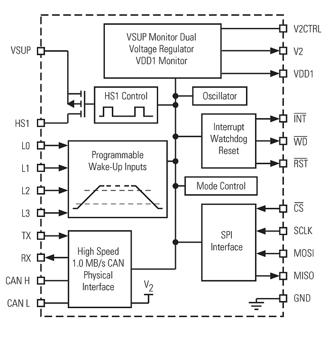
框图

MC33989 BD

 MC33989 BD

特征

  • 低压降电压稳压器具有电流限制、过热预警和复位输出监控等功能。
  • 可调节的外部串联导通PNP稳压器
  • 正常、待机、停止和睡眠模式与CAN接口模式分开
  • 150 mA开关V BAT输出,用于控制外部电路
  • 4个外部唤醒输入,与开关V BAT关联
  • 待机和睡眠电流低
  • V BAT监控和V BAT故障检测
  • 40 V最大瞬变电压
  • 软件可编程看门狗窗口、中断和复位
  • 多个唤醒模式
  • SPI接口连接至MCU
  • HS1 Vbat 开关工具,能驱动外部开关上拉电阻或继电器
  • 本产品包含在恩智浦产品长期供货计划中,自推出后至少保证15年供货

购买/参数










































































































文档

快速参考恩智浦 文档类别

5 文件

紧凑列表

勘误表 (1)
封装信息 (1)
应用笔记 (2)
数据手册 (1)

设计文件

工程服务

4 工程服务

要查找支持该产品的其他合作伙伴产品,请访问我们的 合作伙伴市场.

支持

您需要什么帮助?