带有两个60mA高边驱动器的LIN SBC

查看产品图片

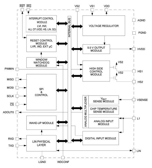
框图

MC33910网络收发器

MC33910 Network Transceivers Block Diagram

特性

主要特性

  • 两个60mA高边开关
  • 一个高压模拟/逻辑输入
  • 全双工SPI,频率高达4MHz
  • LIN收发器通过波形整形可高达100kbps
  • 可配置的窗口看门狗
  • 带故障检测功能的5.0V低压差稳压器,低压复位(LVR)电路
  • 开关式/受保护5.0V输出(用于霍尔传感器)
  • LIN和唤醒输入的IEC61000-4-2 ESD性能('G5AC)
  • EMC抗扰度,抗射频干扰和瞬态传导辐射('G5AC)

购买/参数










































































































文档

快速参考恩智浦 文档类别

6 文件

紧凑列表

应用笔记 (3)
手册 (1)
数据手册 (1)
选型指南 (1)

设计文件

硬件

快速参考恩智浦 板类型.

2 硬件

软件

快速参考恩智浦 软件类型.

1 软件文件

注意: 推荐在电脑端下载软件,体验更佳。

工程服务

4 工程服务

要查找支持该产品的其他合作伙伴产品,请访问我们的 合作伙伴市场.

支持

您需要什么帮助?