带高速CAN和LIN的第二代SBC

查看产品图片

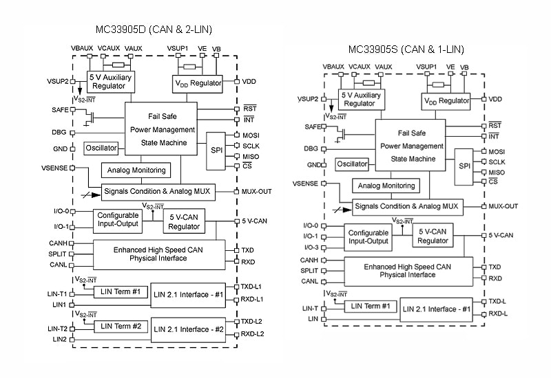
框图

MC33905 Battery Management Block Diagram

MC33905 Internal Block Diagram

功能

主要特性

  • MCU稳压器,5.0 V或者3.3 V,零件编号可选择,能够使用外部PNP来扩展电流功能,共同分担功率损耗
  • 电压,电流和温度保护
  • 低功耗模式下非常低的静态电流
  • 完全受保护的嵌入式5.0 V 稳压器,用于CAN驱动器
  • 多重欠压检测,用来识别不同的MCU规格和系统运行模式(即起动)
  • 辅助5.0 V 或者3.3 V SPI可配置稳压器,用于附加IC,具有过流检测和欠压保护功能
  • MUX输出引脚,用于器件内部模拟信号监测和电源监测
  • 高级SPI,MCU,ECU电源,以及关键引脚诊断和监测
  • 低功耗模式下的多个唤醒源:CAN或LIN总线,I/O 转换,自动定时器,SPI消息和VDD过流监测
  • 兼容ISO11898-5高速CAN接口,支持40 Kb/s至1.0 Mb/s的波特率

产品长期供货计划

  • 该产品包含在恩智浦产品长期供货计划中,确保为您的嵌入式设计提供稳定的产品供应。MC33905包含在15年产品长期供货计划中

购买/参数










































































































文档

快速参考恩智浦 文档类别

10 文件

紧凑列表

勘误表 (1)
应用笔记 (5)
手册 (1)
数据手册 (1)
用户指南 (1)
选型指南 (1)

设计文件

硬件

快速参考恩智浦 板类型.

1-5 / 13 硬件

展开

软件

快速参考恩智浦 软件类型.

1 软件文件

注意: 推荐在电脑端下载软件,体验更佳。

工程服务

4 工程服务

要查找支持该产品的其他合作伙伴产品,请访问我们的 合作伙伴市场.

支持

您需要什么帮助?