包装信息 (2)
封装信息 (2)
应用笔记 (2)
数据手册 (1)
-
40-bit I2C-bus I/O port with RESET, OE and INT[PCA9505_9506]
用户指南 (2)
-
PCA9632 demonstration board OM13269[UM10528]
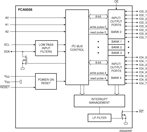
PCA9505/PCA9506为I²C总线应用提供40位并行输入/输出(I/O)端口扩展,分为5组,每组8个I/O。在5 V供电电压时,输出能够拉出10 mA和灌入15 mA,在总封装负载为600 mA的情况下,允许直接驱动40个LED。可将40个I/O端口中的任何一个配置为输入或输出。输出端口为图腾柱且其逻辑状态在Acknowledge时改变(组更改)。除在所有I/O上附带100 kΩ内部上拉电阻外,PCA9505与PCA9506完全相同。PCA9506在I/O上不附带内部上拉电阻,以减少用作输出时或由推挽驱动器驱动输入时的功耗。
器件可配置为屏蔽每个输入端口以防其状态改变时生成中断,也可配置为系统主器件读取时反转I/O数据逻辑状态。
开漏中断输出引脚(1)允许监视输入引脚并在每次一个或多个输入端口发生变化时指定(除非已屏蔽)。
输出使能(1)引脚可指定任何被选作输出的I/O的三态,并可用作输入信号以使LED闪烁或调光(频率 > 80 Hz且更改占空比的PWM)。
内部上电复位(POR)或硬件复位(1)引脚会将40个I/O初始化为输入。三个地址选作引脚配置8个从地址之一。
PCA9506提供56引脚TSSOP和HVQFN封装,而PCA9505仅提供TSSOP封装。它们均用于-40 Cel至+85 Cel的工业温度范围。

|
|
|
|
|
|
|
|---|---|---|---|---|---|
|
|
|
|
|
|
|
|
|
|
|
|
|
|
|
|
|
|
|
|
|
|
|
|
|
|
|
|
|
|
|
|
|
|
|
|
|
|
|
|
|
|
|
|
|
|
|
|
|
|
|
|
|
|
|
|
|
|
|
|
|
|
|
|
|
|
|
|
|
|
快速参考恩智浦 文档类别
9 文件
紧凑列表
安全文件正在加载,请稍等