包装信息 (2)
封装信息 (2)
应用笔记 (3)
手册 (1)
支持信息 (1)
-
Footprint for wave soldering[SSOP-TSSOP-VSO-WAVE]
数据手册 (1)
用户指南 (2)
-
PCA9698 demonstration board OM6281[UM10267]
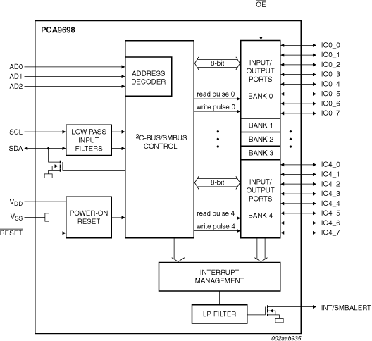
PCA9698为I²C总线应用提供40位并行输入/输出(I/O)端口扩展,分为5组,每组8个I/O。在5 V供电电压时,输出能够拉出10 mA和灌入25 mA,在总封装负载为1 A的情况下,允许直接驱动40个LED。可将40个I/O端口中的任何一个配置为输入或输出。
PCA9698是新的快速模式Plus (Fm+)系列中的首款GPIO器件。 Fm+器件提供更高的频率(最高1 MHz)和更长、更稠密的总线操作(最大4000 pF)。
器件完全可配置:输出端口可编程为图腾柱或开漏而逻辑状态可在Acknowledge(组更改)或Stop命令(全局更改)时改变,可屏蔽各输入端口以防其在状态改变时生成中断,I/O数据逻辑状态可在由系统主器件读取时进行反转。
开漏中断输出引脚(1)允许监视输入引脚并在每次一个或多个输入端口发生变化时指定(除非已屏蔽)。
输出使能(1)引脚3状态可由任何I/O选作输出且可用作输入信号以使LED闪烁或调光(频率 > 80 Hz且更改占空比的PWM)。
“GPIO All Call”命令允许同时对多个高级GPIO进行编程,即使它们有不同的I²C总线地址。当需要以相同的指令对多个器件进行编程时或如果需要同时打开或关闭输出,这能进行最佳的代码编程(例如,LED测试)。
在PCA9698中硬编码的器件ID允许系统主器件读取制造商、部件类型和版本信息。
SMBus警示功能允许将带有此功能的多个器件的1引脚连接在一起,以形成线路“与”运算信号并配合SMBus警示响应地址使用。
内部上电复位(POR)或硬件复位引脚(1)会将40个I/O初始化为输入。三个地址选作引脚配置64个从地址之一。
PCA9698提供56引脚TSSOP和HVQFN封装并规定-40 Cel至+85 Cel的工业温度范围。

|
|
|
|
|
|
|
|---|---|---|---|---|---|
|
|
|
|
|
|
|
|
|
|
|
|
|
|
|
|
|
|
|
|
|
|
|
|
|
|
|
|
|
|
|
|
|
|
|
|
|
|
|
|
|
|
|
|
|
|
|
|
|
|
|
|
|
|
|
|
|
|
|
|
|
|
|
|
|
|
|
|
|
|
快速参考恩智浦 文档类别
1-10 / 12 文件
紧凑列表
安全文件正在加载,请稍等