包装信息 (2)
封装信息 (2)
应用笔记 (2)
手册 (1)
数据手册 (1)
-
4-bit I2C-bus and SMBus I/O port[PCA9536]
用户指南 (2)
-
PCA9632 demonstration board OM13269[UM10528]
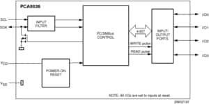
PCA9536是一款8引脚CMOS器件,为I2C总线/SMBus应用提供4位通用并行输入/输出(GPIO)扩展,是为增强NXP Semiconductors的I2C总线I/O扩展器系列而开发的。ACPI电源开关、传感器、按钮、LED、风扇等需要额外的I/O时,I/O扩展器提供简易的解决方案。
PCA9536由4位配置寄存器(输入或输出选择)、4位输入端口寄存器、4位输出端口寄存器和4位极性反转寄存器(高电平有效或低电平有效操作)组成。系统主器件可通过写入I/O配置位将I/O用作输入或输出。每个输入或输出的数据保留在对应的输入端口或输出端口寄存器中。通过极性反转寄存器可反转读取寄存器的极性。系统主器件可读取所有寄存器。
上电复位会将寄存器设为其默认值并初始化器件状态机。
I²C总线地址固定因而相同I²C总线/SMBus上只允许存在一个器件。

|
|
|
|
|
|
|
|---|---|---|---|---|---|
|
|
|
|
|
|
|
|
|
|
|
|
|
|
|
|
|
|
|
|
|
|
|
|
|
|
|
|
|
|
|
|
|
|
|
|
|
|
|
|
|
|
|
|
|
|
|
|
|
|
|
|
|
|
|
|
|
|
|
|
|
|
|
|
|
|
|
|
|
|
快速参考恩智浦 文档类别
10 文件
紧凑列表
安全文件正在加载,请稍等
4 设计文件
收到完整的详细信息。 请参阅产品足迹及更多信息 电子CAD文件.
安全文件正在加载,请稍等