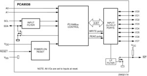
PCA9538是一款16引脚CMOS器件,为I²C总线/SMBus应用提供带中断和复位的8位通用并行输入/输出(GPIO)扩展,是为增强NXP Semiconductors的I²C总线I/O扩展器系列而开发的。ACPI电源开关、传感器、按钮、LED、风扇等需要额外的I/O时,I/O扩展器提供简易的解决方案。
PCA9538由8位配置寄存器(输入或输出选择)、8位输入端口寄存器、8位输出端口寄存器和8位极性反转寄存器(高电平有效或低电平有效操作)组成。系统主器件可通过写入I/O配置位将I/O用作输入或输出。每个输入或输出的数据保留在对应的输入端口或输出端口寄存器中。通过极性反转寄存器可反转输入端口寄存器的极性。系统主器件可读取所有寄存器。
除取消I/O保持低电平时极大降低功耗的内部I/O上拉电阻、用1替换A2以及地址范围不同外,PCA9538与PCA9554完全相同。
当任何输入状态与其对应的输入端口寄存器状态不同时,会激活PCA9538开漏中断输出(1)并用于通知系统主器件输入状态已改变。上电复位会将寄存器设为其默认值并初始化器件状态机。1引脚可引发相同的复位/初始化而无需使器件断电。
两个硬件引脚(A0和A1)会改变固定I²C总线地址,因而允许最多四个器件共享相同的I²C总线/SMBus。

|
|
|
|
|
|
|
|---|---|---|---|---|---|
|
|
|
|
|
|
|
|
|
|
|
|
|
|
|
|
|
|
|
|
|
|
|
|
|
|
|
|
|
|
|
|
|
|
|
|
|
|
|
|
|
|
|
|
|
|
|
|
|
|
|
|
|
|
|
|
|
|
|
|
|
|
|
|
|
|
|
|
|
|
快速参考恩智浦 文档类别
1-10 / 15 文件
紧凑列表
安全文件正在加载,请稍等
4 设计文件
收到完整的详细信息。 请参阅产品足迹及更多信息 电子CAD文件.
安全文件正在加载,请稍等