产品长期供货计划
参与此计划的产品可保证至少10年的供货。此计划下专为汽车、电信和医疗领域而开发的产品可保证15年的供货。
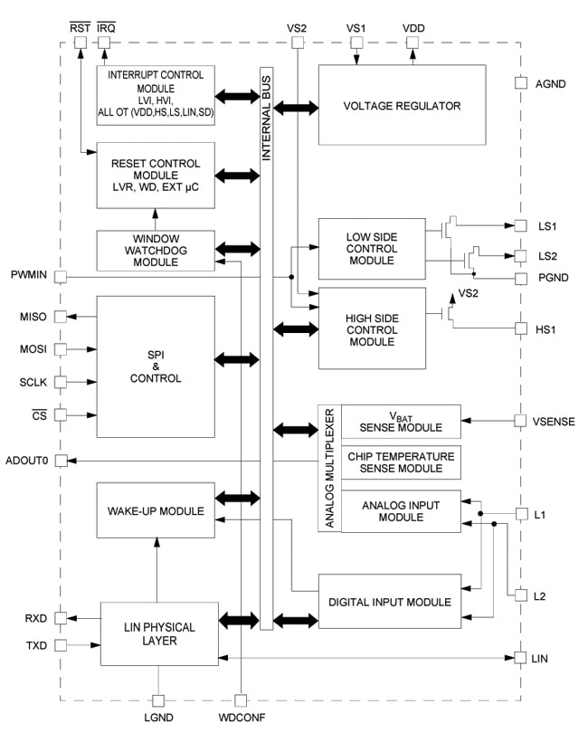
33911是一款由串行外设接口(SPI)控制的系统基础芯片,集成了基于MCU系统中的多种常用功能,另加一个本地互联网(LIN)收发器。33911有一个5.0V-50mA低压差稳压器,具有全面的保护和报告功能。 此器件具有SPI完全可读的诊断功能和可选择的定时看门狗,用来检测错误操作。符合LIN协议规范2.0和2.1('G5AC) 的LIN收发器,具有波形整形电路,较高的数据传输速率时可禁用波形整形电路。
带有输出保护功能的一个60mA高边开关和两个160mA低边开关,可驱动电阻和电感负载。 可对所有输出进行脉宽调制(PWM)。提供两个高压输入,可用于触点监测或者作为外部唤醒输入。这些输入能够用作高压模拟输入。这些引脚上的电压按比率分配,比率可选择,并通过模拟复用器提供。
33911有3个主要的工作模式:正常模式(提供所有功能)、睡眠模式(VDD关闭、通过LIN、唤醒输入(L1和L2)、循环传感和强制唤醒来实施唤醒),停止模式(VDD开启,带有限的电流功能,通过CS、LIN总线、唤醒输入、循环传感、强制唤醒和外部复位来实施唤醒)。
33911符合LIN协议规范2.0、2.1(‘G5AC)和SAEJ2602-2('G5AC)

参与此计划的产品可保证至少10年的供货。此计划下专为汽车、电信和医疗领域而开发的产品可保证15年的供货。
|
|
|
|
|
|
|
|---|---|---|---|---|---|
|
|
|
|
|
|
|
|
|
|
|
|
|
|
|
|
|
|
|
|
|
|
|
|
|
|
|
|
|
|
|
|
|
|
|
|
|
|
|
|
|
|
|
|
|
|
|
|
|
|
|
|
|
|
|
|
|
|
|
|
|
|
|
|
|
|
|
|
|
|
快速参考恩智浦 文档类别
6 文件
紧凑列表
安全文件正在加载,请稍等
4 工程服务
There are no results for this selection.
要查找支持该产品的其他合作伙伴产品,请访问我们的 合作伙伴市场.