P1022参考设计套件(RDK)

框图

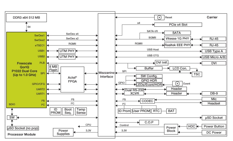
P1022-RDK System Block Diagram

支持的器件

处理器和微控制器

P系列

特征

处理器

  • Dual-core Power Architecture® e500 cores up to 1000 MHz
  • 可引导的4位SD/MMC端口
  • 0ºC to +70ºC operation with supplied passive heat sink

存储器

  • 512 MB 64位DDR3-667存储器
  • 8 MB SPI串行闪存,用于引导加载程序
  • Micro SD端口,用于引导和数据存储

数据连接

  • 两个10/100/1000千兆以太网端口
  • 两个USB 2.0 ULPI PHY (一个主设备,一个OTG)
  • DVI接口
  • x4 PCI Express® slot (physical) supporting up to x4 lane width
  • SATA连接器,用于可选HDD或SSD
  • 两个串行端口
  • 标准16引脚JTAG接头,支持Power Architecture技术

电源管理

  • Battery backed up RTC
  • 带电源和电源线的小规格机箱

音频

  • Wolfson音频编解码器耳机输出和麦克风输入

组件

  • 配置DIP开关和调试LED

支持

  • 快速入门指南、用户手册、硬件参考手册、原理图、物料清单(BOM)和Linux源代码
  • MicroSD card with firmware, Linux® OS, and root file system preinstalled

文档

快速参考恩智浦 文档类别

2 文件

紧凑列表

设计资源

选择区域:

Related Hardware

快速参考恩智浦 板类型.

1 硬件产品

软件

快速参考恩智浦 软件类型.

1 软件文件

注意: 推荐在电脑端下载软件,体验更佳。

培训

1 培训

支持

您需要什么帮助?