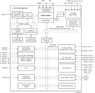
The LPC2101/02/03 microcontrollers are based on a 16-bit/32-bit Arm7TDMI-S™ CPU with real-time emulation that combines the microcontroller with 8 kB, 16 kB or 32 kB of embedded high-speed flash memory. A 128-bit wide memory interface and an accelerator architecture enable 32-bit code execution at the maximum clock rate. For critical performance in interrupt service routines and DSP algorithms, this increases performance up to 30 pct over Thumb mode. For critical code size applications, the alternative 16-bit Thumb mode reduces code by more than 30 pct with minimal performance penalty.
Due to their tiny size and low power consumption, the LPC2101/02/03 are ideal for applications where miniaturization is a key requirement. A blend of serial communications interfaces ranging from multiple UARTs, SPI to SSP and two I²C-buses, combined with on-chip SRAM of 2 kB/4 kB/8 kB, make these devices very well suited for communication gateways and protocol converters. The superior performance also makes these devices suitable for use as math coprocessors. Various 32-bit and 16-bit timers, an improved 10-bit ADC, PWM features through output match on all timers, and 32 fast GPIO lines with up to nine edge or level sensitive external interrupt pins make these microcontrollers particularly suitable for industrial control and medical systems.