
MIFARE SAM AV3
| 存储器 | MIFARE Plus EV2 | MIFARE Plus X |
|---|---|---|
| 存储器配置 | 区块/扇区结构 | 区块/扇区结构 |
| 存储器大小 | 2 kB / 4 kB | 2 kB / 4 kB |
| ISO/IEC | ISO/IEC 14443 A 1-4 ISO/IEC 7816 |
ISO/IEC 14443 A 1-4 ISO/IEC 7816 |
| UID/ONUID | 7B UID或4 B ONUID | 7B UID或4 B ONUID |
| 数据传输速率 | 根据ISO/IEC 14444 -4,最高可达848 kbps | 根据ISO/IEC 14444 -4,最高可达848 kbps |
| 算法 | AES 128位,安全消息传递,传统加密1 | AES 128位,安全消息传递,传统加密1 |
| 安全级别概念 | 逐扇区或逐卡 | 仅限卡 |
| SL1SL3MixMode | 安全后端连接到SL1扇区 | - |
| 交易MAC (TMAC) | 后端交易的安全验证 | - |
| 交易计时器 | 缓解中间人攻击 | - |
| 通用标准认证 | 面向IC软硬件的EAL5+ | 面向IC软硬件的EAL4+ |

MIFARE SAM AV3

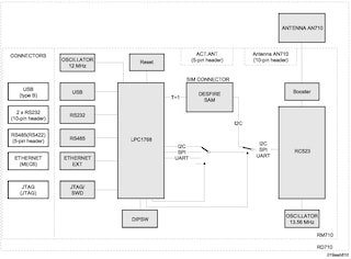
CLRC663+系列:高性能NFC前端
|
|
|
|
|
|
|
|---|---|---|---|---|---|
|
|
|
|
|
|
|
|
|
|
|
|
|
|
|
|
|
|
|
|
|
|
|
|
|
|
|
|
|
|
|
|
|
|
|
|
|
|
|
|
|
|
|
|
|
|
|
|
|
|
|
|
|
|
|
|
|
|
|
|
|
|
|
|
|
|
|
|
|
|
快速参考恩智浦 文档类别
1-10 / 12 文件
紧凑列表
安全文件正在加载,请稍等
1-5 / 8 硬件




.jpg?imwidth=300)
.jpg?imwidth=300)

.jpg?imwidth=300)
要查找支持该产品的其他合作伙伴产品,请访问我们的 合作伙伴市场.
5 工程服务
There are no results for this selection.
要查找支持该产品的其他合作伙伴产品,请访问我们的 合作伙伴市场.
3 培训