勘误表 (1)
-
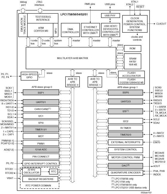
Errata sheet LPC1759/58/56/54/52/51[ES_LPC175X]
培训资料 (1)
封装信息 (1)
应用笔记 (25)
-
BLDC motor control with LPC1700[AN10898]
-
AN10974 - LPC176x/175x 12-bit ADC design guidelines[AN10974_-_LPC176X_175X_12-BIT_]
-
Migrating to the LPC1700 series[AN10878]
-
LPC176x/175x 12-bit ADC design guidelines[AN10974_ZH]
-
DSP library for LPC1700 and LPC1300[AN10913]
-
UUencoding for UART ISP[AN11229]
-
LPC1700 secondary USB bootloader[AN10866]
-
DSP library for LPC1700 and LPC1300[AN10913_CM3_DSP_LIBRARY_V1_0_0]
-
SPI secondary boot loader[AN11257]
-
I2C secondary boot loader[AN11258]
手册 (2)
支持信息 (3)
-
ADC design guidelines[TN00009]
-
Footprint for wave soldering[HTQFP-HLQFP-LQFP-MSQFP-WAVE]
-
Footprint for wave soldering[SSOP-TSSOP-VSO-WAVE]
数据手册 (1)
用户指南 (1)
-
LPC176x/5x User manual[UM10360]








