归档的内容不再更新,仅作为历史记录参考。
MSC8251采用业内性能较高、基于StarCore®技术的DSP内核,满足高端医疗成像、航空国防和高级测试与测量市场的高级处理要求和功能。它提供了更高的性能,在高度集成的DSP内采用45 nm工艺技术实现高达1 GHz的性能。MSC8251可帮助设备制造商创造出在更小尺寸的硬件内集成更多功能的终端产品和服务。
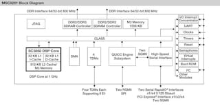
MSC8251 DSP具有较高的性能和集成度,采用运行频率高达1 GHz的完全可编程SC3850内核。根据独立评估,SC3850 DSP内核每MHz的处理能力比竞争力强劲的DSP产品高40%。基于高性能内部RISC的QUICC Engine®子系统支持多种联网协议,从而保证在分组网络上可靠地传输数据,同时大幅减轻DSP内核的处理负载。
MSC8251内嵌大型内部存储器,支持多种先进的高速接口类型,包括两个串行RapidIO®接口、两个用于网络通信的千兆以太网接口、1个PCI Express®控制器、两个提供行业标准高速存储器接口的DDR控制器和4个多通道TDM接口。MSC8251与所有MSC825x和MSC815x DSP器件保持引脚兼容,从而实现了高度的可扩展性。