产品简介 (1)
-
MSC8251 and MSC8252 Product Brief[MSC8251PB]
参考手册 (1)
-
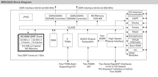
MSC8252 Reference Manual[MSC8252RM]
应用笔记 (32)
-
MSC81xx Ethernet Boot Test[AN3436]
-
MSC8156 DMA Performance[AN3987]
-
Multicore Support in SmartDSP OS[AN3855]
应用笔记软件 (11)
-
Software to support AN4207[AN4207SW]
-
Software to support AN4338[AN4338SW]
-
Software to support AN3935[AN3935SW]
-
Software to accompany AN4176[AN4176SW]
-
Software to accompany AN4063[AN4063SW]
-
Software to accompany AN4155[AN4155SW]
-
Software to accompany EB738[EB738SW]
-
Software to support AN3873[AN3873SW]
-
Software to accompany AN4196[AN4196SW]
-
Software to support AN3987[AN3987SW]
-
Software for AN3872[AN3872SW]



