产品简介 (1)
-
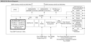
MSC8151/MSC8152 Product Brief[MSC8151PB]
参考手册 (2)
应用笔记 (17)
应用笔记软件 (8)
-
Software to support AN4207[AN4207SW]
-
Software to support AN4338[AN4338SW]
-
Software to accompany AN4176[AN4176SW]
-
Software to accompany AN4063[AN4063SW]
-
Software to accompany AN4155[AN4155SW]
-
Software to accompany EB738[EB738SW]
-
Software to support AN3873[AN3873SW]
-
Software to accompany AN4196[AN4196SW]



