5 V、2.2 V和2.5 V的双通道UART,5 Mbit/s(最快),带有64字节FIFO

查看产品图片

产品详情

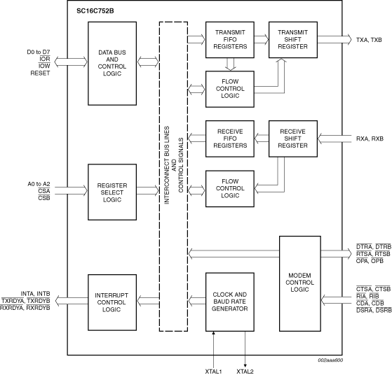
框图

Block diagram: SC16C752BIB48, SC16C752BIBS

特征

  • 引脚兼容SC16C2550并有新增特性
  • 最快5 Mbit/s的波特率(3.3 V和5 V时;2.5 V时最快波特率为3 Mbit/s)
  • 64字节发送FIFO
  • 带有错误标志的64字节接收FIFO
  • 可编程和可选择发送和接收FIFO触发电平用于DMA和中断生成
  • 软件/硬件流控制
    • 可编程Xon/Xoff字符
    • 可编程自动RTS和自动CTS
  • 通过Xon任意字符恢复任意数据流
  • 适用于接收和发送数据的DMA信号传输能力
  • 支持5 V、3.3 V和2.5 V操作
  • 仅输入引脚1 的容限为5 V
  • 软件可选波特率生成器
  • 预分频器提供额外的4分频功能
  • 工业温度范围(–40 ℃至+85 ℃)
  • 引脚和软件兼容SC16C752、TL16C752
  • 快速数据总线访问时间
  • 可编程睡眠模式
  • 可编程串行接口特性
    • 5位、6位、7位或8位字符
    • 偶、奇或无奇偶校验位生成和检测
    • 1、1.5或2停止位生成
  • 错误起始位检测
  • 正常和睡眠模式下完备的状态报告能力
  • 线中止的产生和检测
  • 内部测试和环回能力
  • 完全有优先顺序的中断系统控制
  • 调制解调器控制功能(CTS、RTS、DSR、DTR、RI和CD)

购买/参数










































































































文档

快速参考恩智浦 文档类别

1-10 / 21 文件

紧凑列表

包装信息 (3)
封装信息 (1)
应用笔记 (14)
手册 (1)
支持信息 (1)
数据手册 (1)

设计文件

工程服务

3 工程服务

要查找支持该产品的其他合作伙伴产品,请访问我们的 合作伙伴市场.

支持

您需要什么帮助?