家用自动化调制解调器

查看产品图片

产品详情

框图

选择框图:

UCODE 8/8m框图

UCODE 8/8m Block Diagram

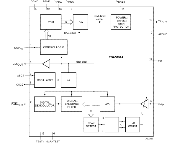
TDA5051A框图

TDA5051A Block Diagram

TDA5051A框图

特性

系统特性

  • 全数字载波生成和整形
  • 从微控制器或片上振荡器通过时钟调节来设置调制/解调频率
  • 6位D/A(数字至模拟)转换器的高时钟速率可抑制混叠组件
  • 完全集成的输出功率级具备过载保护
  • 接收器输入有自动增益控制(AGC)
  • 8位A/D(模拟至数字)转换器和窄数字滤波
  • 提供基带数据的数字解调
  • EN50065-1与简单的耦合网络配合融洽
  • 几乎无外部组件的低成本应用
  • SO16塑料封装
  • 家用电器控制(空调、百叶窗、照明设备、警报等)
  • 能源/加热控制
  • 使用家庭电力网的幅移键控(ASK)数据传输
  • 数据速率为0.0012kbps(最大值)
  • 电源电压:82V(最低),122V(最高)

购买/参数










































































































文档

快速参考恩智浦 文档类别

7 文件

紧凑列表

包装信息 (2)
封装信息 (1)
应用笔记 (1)
数据手册 (1)
用户指南 (2)

设计文件

支持

您需要什么帮助?