应用笔记 (3)
-
ESD and EMC sensitivity of IC[AN10853]
-
Handling bare die[AN10706]
-
AN10652[AN10652]
数据手册 (1)
-
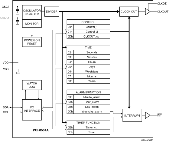
Real time clock and calendar[PCF8564A]
用户指南 (2)
选型指南 (1)
-
Real Time Clocks Selector Guide Brochure[RTCSelectorGuideA4]
