包装信息 (4)
封装信息 (2)
应用笔记 (2)
-
ESD and EMC sensitivity of IC[AN10853]
-
AN10652[AN10652]
手册 (1)
支持信息 (2)
-
Wave Soldering Profile[WAVE_SOLDERING_PROFILE]
-
Footprint for reflow soldering[SO-SOJ-REFLOW]
数据手册 (1)
-
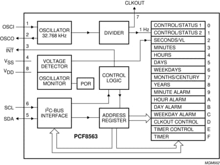
实时时钟/日历[PCF8563]
用户指南 (2)
选型指南 (1)
-
Real Time Clocks Selector Guide Brochure[RTCSelectorGuideA4]
