低延迟、超低功耗的无线游戏耳机解决方案

点击播放视频

产品详情

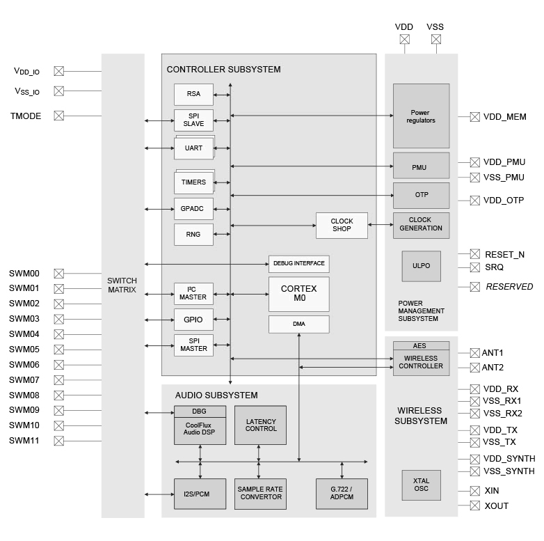
框图

NxH3x70

NxH3x70 Block Diagram

特性

主要特性

  • Bluetooth® Low Energy 4.2 certified with proprietary audio streaming extension
  • 可编程TX输出功率:-10 dBm至+4 dBm,步长为2 dB
  • BLE 2 Mbps调制方式的灵敏度:-90 dBm;BLE 1 Mbps调制方式的为-94 dBm
  • 业界最低RX电流消耗在1.2V时<4 mA,在1.2V时为TX电流消耗<7 mA (0 dBm输出功率)
  • 集成音频接口和音频处理
  • WLCSP封装<7.25 mm2,带34个凸点
  • 外部无源组件少
  • 无铅并符合RoHS指令2011/65/EU (RoHS 2)
  • 工作温度范围:-20 °C至+85 °C

购买/参数










































































































文档

快速参考恩智浦 文档类别

8 文件

紧凑列表

应用笔记 (3)
数据手册 (1)
用户指南 (3)
简介 (1)

设计文件

硬件

快速参考恩智浦 板类型.

2 硬件

软件

快速参考恩智浦 软件类型.

1 软件文件

注意: 推荐在电脑端下载软件,体验更佳。

工程服务

1-5 / 9 工程服务

展开

要查找支持该产品的其他合作伙伴产品,请访问我们的 合作伙伴市场.

培训

1 培训

支持

您需要什么帮助?