SPI,±3.5g或±5.0g,XY轴,低重力加速度,数字惯性传感器

  • 建议不要在新设计中使用本页介绍的产品。

滚动图片以放大

产品详情

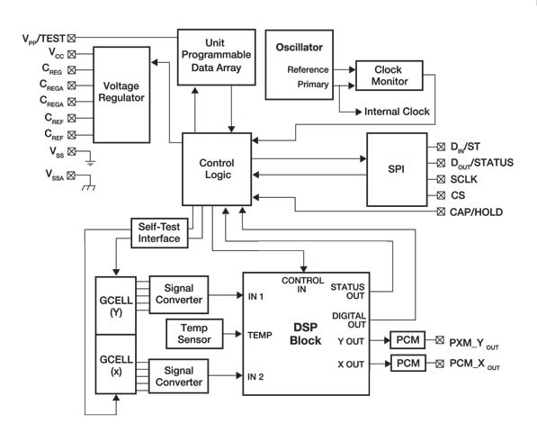
框图

Freescale MMA69xxKQ Acceleration Sensor Block Diagram

MMA69xxKQ Acceleration Sensor Block Diagram

特征

  • X和Y轴灵敏度
  • 每轴±3.5或±5.0g全量程范围
  • 符合AEC-Q100 G,2级标准(-40 ≤ TA ≤ 105 °C)
  • 50 Hz二阶低通滤波器
  • 无符号11位数字数据输出
  • SPI兼容的串行接口
  • 支持系统级同步的采集/保持输入
  • 3.3 V或5 V单电源运行
  • 片上温度传感器和稳压器
  • 双向内部自检
  • 最低外部组件要求
  • 无铅16引脚QFN封装
  • 用于器件评估的脉冲编码调制输出

购买/参数










































































































文档

快速参考恩智浦 文档类别

2 文件

紧凑列表

设计资源

设计文件

快速参考恩智浦 设计文件类型.

1 设计文件

硬件

快速参考恩智浦 板类型.

4 硬件

支持

您需要什么帮助?