低复用率的通用LCD驱动器

  • 建议不要在新设计中使用本页介绍的产品。

查看产品图片

产品详情

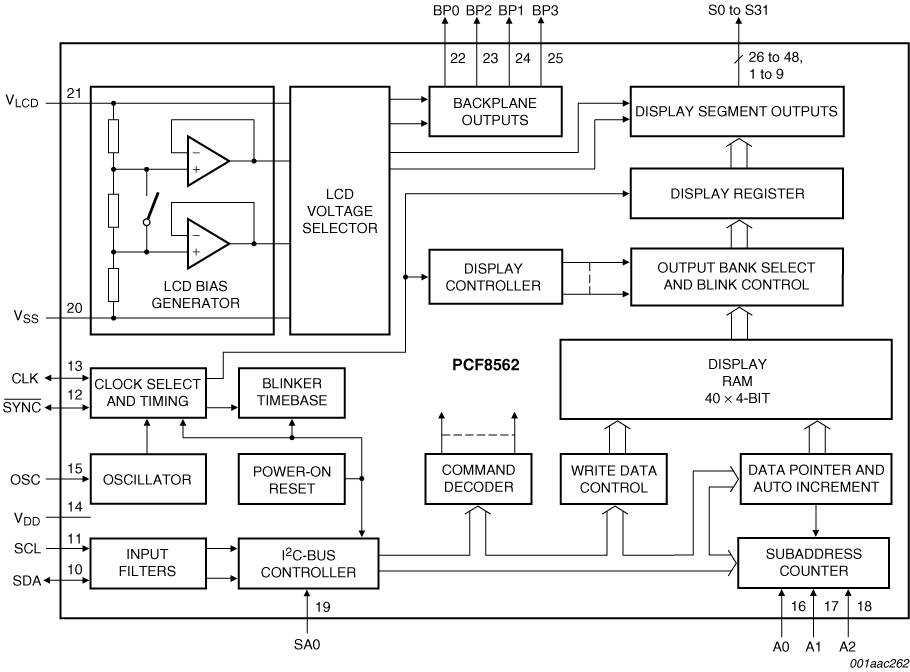
框图

Block diagram: PCF8562TT

特征

  • 适合汽车应用的AEC-Q100 (PCF8562TT/S400/2)
  • 单芯片LCD控制器和驱动器
  • 可选择的背板驱动配置:静态、2、3或4背板多路复用
  • 可选显示偏置电压配置:静态、1/21/3
  • 内部LCD偏置电压通过电压跟随缓冲器生成
  • 32个段码驱动:
    • 最多60个7段码数字字符
    • 最多8个14段码字母数字字符
    • 最多128元素的任何图形
  • 用于存储显示数据的32 × 4位RAM
  • 跨越器件子地址边界进行自动递增显示数据加载
  • 静态和双工驱动模式下的显示存储器组切换
  • 多种闪烁模式
  • 可用于LCD和逻辑电压的独立电源
  • 宽电源电压范围:1.8 V至5.5 V
  • 较宽的逻辑LCD电压范围:
    • 最低2.5 V,用于低阈值LCD
    • 最高6.5 V,用于客/主LCD和高阈值扭曲向列LCD
  • 低功耗
  • 400 kHz I²C总线接口
  • 无需外部组件
  • 采用硅栅CMOS工艺制造

购买/参数










































































































文档

快速参考恩智浦 文档类别

8 文件

紧凑列表

包装信息 (1)
封装信息 (1)
应用笔记 (3)
数据手册 (1)
用户指南 (1)
选型指南 (1)

设计文件

工程服务

2 工程服务

要查找支持该产品的其他合作伙伴产品,请访问我们的 合作伙伴市场.

支持

您需要什么帮助?