低复用率通用LCD驱动器

产品详情

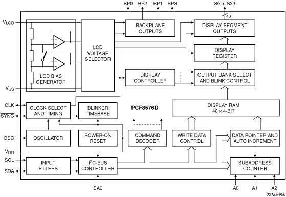
框图

Block diagram: PCF8576DH, PCF8576DT, PCF8576DU

特征

  • 适合汽车应用的AEC-Q100 (PCF8576DT/S400/2)
  • 单芯片LCD控制器和驱动器
  • 可选背板驱动配置:静态或者2、3、4背板多路复用
  • 可选显示偏置配置:静态、1/21/3
  • 带有电压跟随缓冲器的内部LCD偏置生成
  • 40个段码驱动:
    • 最多20个7段码数字字符
    • 最多10个14段码字母数字字符
    • 最多160元素的任何图形
  • 用于存储显示数据的40 × 4位RAM
  • 跨越器件子地址边界进行自动递增显示数据加载
  • 静态和1/2驱动模式的显示存储器组切换
  • 通用闪烁模式
  • 可为LCD和逻辑电压独立供电
  • 宽范围的电源:从1.8 V至5.5 V
  • 宽范围的逻辑LCD电源:
    • 从适用于低阈值LCD的2.5 V
    • 最大至适用于高阈值扭曲向列LCD的6.5 V
  • 低功耗
  • 400 kHz I²C总线接口
  • 可级联进行大型LCD应用(最多可有2560个元素)
  • 无需外部组件
  • 兼容玻璃覆晶(COG)技术
  • 用硅栅CMOS工艺制造

购买/参数










































































































文档

快速参考恩智浦 文档类别

1-10 / 15 文件

紧凑列表

包装信息 (1)
封装信息 (2)
应用笔记 (5)
手册 (2)
数据手册 (1)
用户指南 (2)
白皮书 (1)
选型指南 (1)

设计文件

工程服务

2 工程服务

要查找支持该产品的其他合作伙伴产品,请访问我们的 合作伙伴市场.

支持

您需要什么帮助?