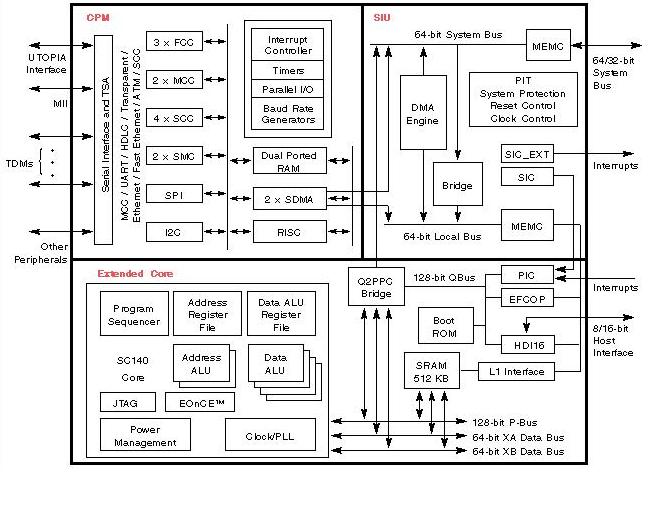
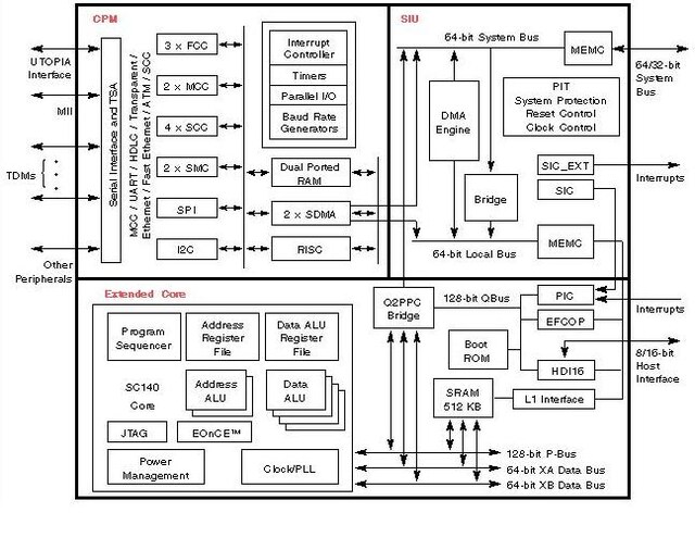
The NXP® MSC8101 Integrated Digital Signal Processor (DSP) is
the first member of the family of DSPs based on the SC140 DSP core. This
versatile chip integrates on a single device the high-performance StarCore®
SC140 four-ALU (Arithmetic Logic Unit) DSP core along with 512 KB of on-chip
memory, a Communications Processor Module (CPM), a 64-bit 60x-compatible
system bus, a flexible System Integration Unit (SIU), and a 16-channel DMA
engine. With its four ALU core, the MSC8101 can execute up to four
multiply-accumulate (MAC) operations in a single clock cycle. The MSC8101 CPM
is a 32-bit RISC-based communications protocol engine that can network to
Time-Division Multiplexed (TDM) highways, Ethernet, and Asynchronous Transfer
mode (ATM) backbones. The MSC8101 60x-compatible bus interface facilitates its
connection to system architectures. The large on-chip memory, 512
KB, reduces the need for off-chip program and data memories. The MSC8101
device offers 1500 MMACS performance using an internal 300 MHz clock with a
1.6 V core and independent 3.3 V input/output (I/O).
Target Applications
The MSC8101 device targets applications requiring very high performance, very
large amounts of on-chip memory, and such networking capabilities as:
- Third-generation wideband wireless infrastructure systems
- IP Telephony systems
- Multi-channel modem banks
- Multi-channel xDSL
Documentation NOTE:
All documentation for the MSC8101 is now available not only on the Web but
also in hard copy from the NXP Literature Distribution Center.
Development Tools NOTE:
For information on the compiler, linker, assembler tools that have been
developed for StarCore products, click on "Related Links" and visit
the vendor site.
Design Tools NOTE:
A library of software modules and MSC8101 device driver examples is available
to accelerate bringing products to market.