低复用率的通用LCD驱动器

产品详情

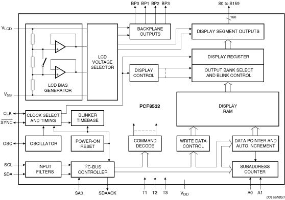
框图

Block diagram: PCF8532U

特征

  • 适用于最多640元素的单芯片LCD控制器和驱动器
  • 可选背板驱动配置:静态或者2、3或4背板多路复用
  • 160个段码驱动:
    • 最多80个7段码数字字符
    • 最多42个14段码字母数字字符
    • 最多640元素的任何图形
  • 可级联进行大型LCD应用(最多可有5120个要素)
  • 用于存储显示数据的160 × 4位RAM
  • 帧频可在60 Hz至90 Hz范围内以5 Hz的步幅进行软件编程
  • 大范围的LCD电源:从适用于低阈值LCD的1.8 V至客户订制LCD和高阈值(汽车)扭曲向列LCD的8.0 V
  • 带有电压跟随缓冲器的内部LCD偏置生成
  • 可选显示偏置配置:静态、1/21/3
  • 宽范围的电源:从1.8 V至5.5 V
  • 可分离LCD和逻辑电源
  • 低功耗,典型值:IDD = 4 μA,IDD(LCD) = 30 μA
  • 400 kHz I²C总线接口
  • 跨越器件子地址边界自动递增子地址进行显示数据加载
  • 通用闪烁模式
  • 兼容玻璃覆晶(COG)技术
  • 两组背板输出以优化应用的COG配置
  • 静态和1/2驱动模式的显示存储器组切换
  • 无需外部组件
  • 采用硅栅CMOS工艺制造

购买/参数










































































































文档

快速参考恩智浦 文档类别

10 文件

紧凑列表

封装信息 (1)
应用笔记 (5)
数据手册 (1)
用户指南 (1)
白皮书 (1)
选型指南 (1)

设计文件

工程服务

2 工程服务

要查找支持该产品的其他合作伙伴产品,请访问我们的 合作伙伴市场.

支持

您需要什么帮助?