带有中断逻辑和复位的二选一I²C总线主选择器

查看产品图片

产品详情

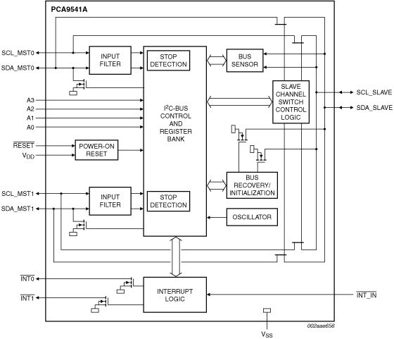
框图

Block diagram: PCA9541ABS, PCA9541AD, PCA9541APW

特征

  • 二选一双向主选择器
  • I²C总线接口逻辑;兼容SMBus标准
  • PCA9541A/01上电时选择通道0
  • PCA9541A/03上电时不选择任何通道且任一主器件均可控制总线
  • 低电平有效的中断输入
  • 2个低电平有效的中断输出
  • 低电平有效的复位输入
  • 4个地址引脚允许I²C总线上最多有16个器件
  • 通过I²C总线进行通道选择
  • 总线初始化/恢复功能
  • 总线通信量传感器
  • 低导通电阻开关
  • 允许在1.8 V、2.5 V、3.3 V和5 V总线之间进行电压电平转换
  • 上电时没有脉冲干扰
  • 支持热插入
  • 两个主器件的软件完全相同
  • 低待机电流
  • 电源电压工作范围:2.3 V至5.5 V
  • 6.0 V耐受输入
  • 时钟频率:0 Hz至400 kHz
  • ESD保护:按JESD22-A114超过2000 V HBM,按JESD22-C101超过1000 V CDM
  • 根据JEDEC标准JESD78完成超过100 mA的锁定测试
  • 封装方式:SO16、TSSOP16、HVQFN16

目标应用

  • 带有双主器件的高可靠性系统
  • 长单总线上的网守多路复用器
  • 没有硬件复位的从器件的总线初始化/恢复
  • 允许主器件无需仲裁逻辑即可共享资源

购买/参数










































































































文档

快速参考恩智浦 文档类别

9 文件

紧凑列表

包装信息 (2)
封装信息 (2)
支持信息 (2)
数据手册 (1)
用户指南 (1)
简介 (1)

设计资源

设计文件

快速参考恩智浦 设计文件类型.

1-5/ 7 设计文件

展开

硬件

快速参考恩智浦 板类型.

1 硬件产品

支持

您需要什么帮助?