包装信息 (2)
培训资料 (1)
-
DesignCon 2003 TecForum I²C-Bus Overview[DESIGN_CON_2003_TECFORUM_I2C_B_1]
封装信息 (1)
应用笔记 (2)
手册 (1)
支持信息 (1)
-
Footprint for Wave Soldering[SO-SOJ-WAVE]
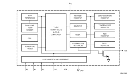
LM75A是一款温度-数字转换器,使用片上带隙温度传感器和Σ-Δ A/D转换技术。该器件还是一款热检测器,提供过热检测输出。LM75A包含一系列数据寄存器:储存诸如第7章“功能说明”中所述器件工作模式、OS工作模式、OS极性和OS故障队列等器件设置的配置寄存器(Conf);储存数字温度读数的温度寄存器(Temp)以及储存可编程过热关断和滞后极限的设置点寄存器(Tos和Thyst),可通过2线串行I²C总线接口与控制器进行通信。该器件还包含温度超过编程极限时变为有效的开漏输出(OS),共有三个可选逻辑地址引脚,因此可在同一总线上连接八个器件而不会发生地址冲突。
LM75A可为不同的工作条件进行配置。可将其设为正常模式以定期监视环境温度,或设为关断模式以使功耗最小化。OS输出可在两种可选模式中的任意一种下工作:OS比较器模式或OS中断模式。其有效状态可选为高电平或低电平。定义连续故障数以激活OS输出的故障队列以及设置点极限均为可编程。
温度寄存器始终储存温度分辨率为0.125 °C的11位二进制补码数据。对于精确测量热漂移或热逃逸的应用,这一较高的温度分辨率尤其有用。
上电后,该器件进入正常工作模式,OS进入比较器模式,温度阈值为80 ℃,迟滞为75 ℃,因此可用作带有预定义温度设定点的独立恒温器。

|
|
|
|
|
|
|
|---|---|---|---|---|---|
|
|
|
|
|
|
|
|
|
|
|
|
|
|
|
|
|
|
|
|
|
|
|
|
|
|
|
|
|
|
|
|
|
|
|
|
|
|
|
|
|
|
|
|
|
|
|
|
|
|
|
|
|
|
|
|
|
|
|
|
|
|
|
|
|
|
|
|
|
|
快速参考恩智浦 文档类别
1-10 / 12 文件
紧凑列表
安全文件正在加载,请稍等
4 设计文件
收到完整的详细信息。 请参阅产品足迹及更多信息 电子CAD文件.
安全文件正在加载,请稍等
3 硬件



要查找支持该产品的其他合作伙伴产品,请访问我们的 合作伙伴市场.
5 工程服务
There are no results for this selection.
要查找支持该产品的其他合作伙伴产品,请访问我们的 合作伙伴市场.