MFEV710
正常供应
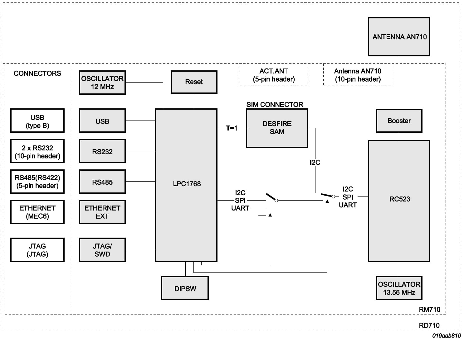
PEGODA Contactless Smart Card Reader based on MFRC523.
PEGODA Contactless Smart Card Reader based on MFRC523.
| 代理商 | 地区 | 库存 | 库存日期 | 订购 |
|---|
Upon selection of a preferred distributor, you will be directed to their web site to place and service your order. Please be aware that distributors are independent businesses and set their own prices, terms and conditions of sale. NXP makes no representations or warranties, express or implied, about distributors, or the prices, terms and conditions of sale agreed upon by you and any distributor.
Description not available.
| 代理商 | 地区 | 库存 | 库存日期 | 订购 |
|---|
Upon selection of a preferred distributor, you will be directed to their web site to place and service your order. Please be aware that distributors are independent businesses and set their own prices, terms and conditions of sale. NXP makes no representations or warranties, express or implied, about distributors, or the prices, terms and conditions of sale agreed upon by you and any distributor.
快速参考恩智浦 文档类别
1-10 / 13 文件
紧凑列表
安全文件正在加载,请稍等
选择区域:
1 硬件产品

查找支持此产品的所有合作伙伴,请参阅 合作伙伴市场.
快速参考恩智浦 软件类型.
2 软件文件
注意: 推荐在电脑端下载软件,体验更佳。
安全文件正在加载,请稍等