封装信息 (1)
-
plastic leaded chip carrier; 52 leads[SOT238-2]
应用笔记 (8)
支持信息 (1)
-
Footprint for wave soldering[PLCC-WAVE]
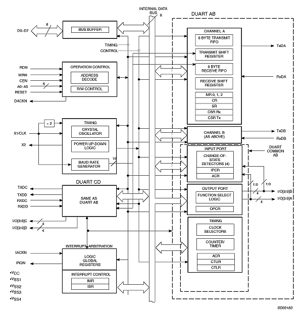
28C94四通道通用异步接收器/发送器(QUART)结合了四个增强的Philips Semiconductors行业标准UART与创新的中断方案,可极大降低主机处理器开销。采用Philips Semiconductors的高速CMOS工艺,结合小芯片尺寸和低成本以及低功耗。
可按十八个固定波特率、源自可编程计数器/定时器的16X时钟或外部1X或16X时钟之一单独选择每个接收器和发送器的工作速度。可从晶体或从外部时钟输入直接操作波特率生成器以及计数器/定时器。接收器和发送器工作速度的独立编程能力使QUART特别适合双速通道应用,如集群终端系统。
每个接收器均由八字符FIFO(先入先出存储器)和一个偏移寄存器缓冲以使接收器超载的可能性最小化并降低中断驱动系统的中断开销。另外,提供信号交换能力以在接收器缓冲器已满时禁用远程UART发送器。(RTS控制)
28C94提供节电模式,该模式会停止振荡器并储存寄存器内容。因而可按几个幅度等级降低功耗。QUART完全兼容TTL并通过单个+5V电源工作。

|
|
|
|
|
|
|
|---|---|---|---|---|---|
|
|
|
|
|
|
|
|
|
|
|
|
|
|
|
|
|
|
|
|
|
|
|
|
|
|
|
|
|
|
|
|
|
|
|
|
|
|
|
|
|
|
|
|
|
|
|
|
|
|
|
|
|
|
|
|
|
|
|
|
|
|
|
|
|
|
|
|
|
|
快速参考恩智浦 文档类别
1-10 / 11 文件
紧凑列表
安全文件正在加载,请稍等