用户指南 (1)
-
56F805 Evaluation Module Hardware User's Manual[DSP56F805EVMUM]快速入门
选型指南 (1)
-
Digital Signal Processors and Controllers, SG1004[SG1004Q22009]
ARCHIVED
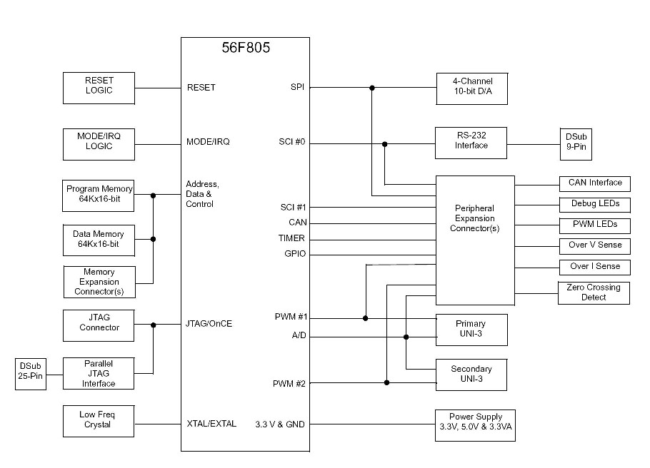
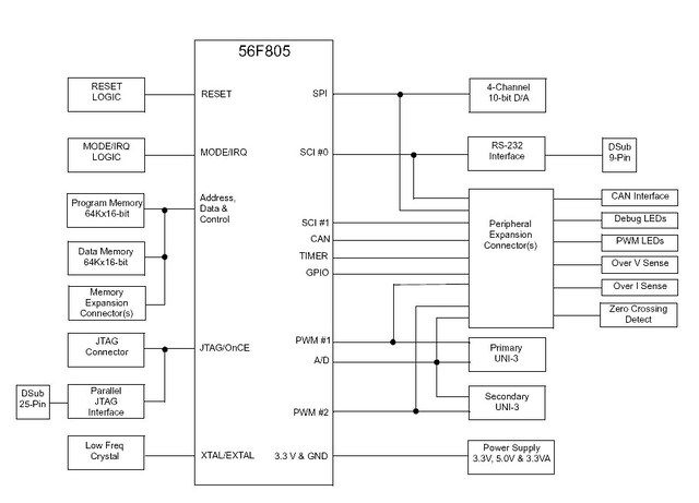
The 56F805EVM kit is a low-cost kit that contains everything you need to quickly evaluate the features and capabilities of the 56F805 digital signal controller and tools. It also provides an efficient, cost-effective vehicle for hardware and software development. It can be used alone or in conjunction with Our broad range of modular motion control development hardware. The DSP56F805EVM Kit is targeted for use on PC-compatible systems running Windows 95, Windows 98, Windows 2000, Windows ME and Windows NT 4.0.
Archived content is no longer updated and is made available for historical reference only.
快速参考恩智浦 文档类别
2 文件
紧凑列表
安全文件正在加载,请稍等
1-5/ 6 设计文件
安全文件正在加载,请稍等
快速参考恩智浦 软件类型.
2 软件文件
注意: 推荐在电脑端下载软件,体验更佳。
安全文件正在加载,请稍等