包装信息 (3)
-
HVQFN32; Standard product orientation 12NC ending 118[SOT617-1_118]
封装信息 (1)
应用笔记 (6)
-
AN10319[AN10319]
-
UART to Bluetooth interfacing[AN10307]
手册 (1)
-
NXP High-speed UARTs and Bridge ICs[SIPAAANFCA1UPUBR]
支持信息 (1)
-
Footprint for wave soldering[HTQFP-HLQFP-LQFP-MSQFP-WAVE]
数据手册 (1)
-
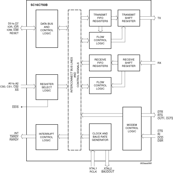
5 V, 3.3 V and 2.5 V UART with 64-byte FIFOs[SC16C750B]

