设计文件
收到完整的详细信息。 请参阅产品足迹及更多信息 电子CAD文件.
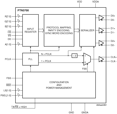
PTN3700是一款1.8 V简易移动接口链路桥接IC,可用作RGB888视频数据的发送器串行器或接收器解串器。当配置为发送器时(使用输入引脚TX/RX),PTN3700将并行CMOS视频输入数据串行化为1、2或3条subLVDS基高速串行数据通道。当配置为接收器时,PTN3700将多达3条高速串行数据通道解串为并行CMOS视频数据信号。
PTN3700的并行接口基于传统且广泛使用的RGB视频数据用24位宽数据总线,外加有源LOWHS(水平同步)和VS(垂直同步)信号,以及有源HIGH DE(数据使能)信号。提供额外的两个辅助位A[1:0]以允许向显示器发送经由链路的各种状态或模式信息信号。PTN3700的串行接口链路基于开放的简易移动接口链路(SMILi)定义。为了在适应各种显示尺寸(例如,多达24位、每秒60帧的XVGA)的同时保持低功率,可根据带宽需求将高速串行通道(“lane”)数配置为1至3条。数据链路速度由PCLK(像素时钟)速率和所选串行通道数决定。
为了保持低功率分布,PTN3700具有三种功率模式,由有效输入时钟的检测和关机引脚XSD决定。在关机模式(XSD = LOW)中,PTN3700为完全无效且消耗最小的电流。在待机模式(XSD = HIGH)中,器件准备好在一旦检测到有效输入时钟信号时就切换至激活模式,并恢复正常的链路操作。
在发送器模式中,PTN3700对输入数据(R[7:0]、G[7:0]、B[7:0]外加HS、VS和DE数据位)进行奇偶校验计算并将一个奇校验位CP添加至串行发送数据流。接收器模式中的PTN3700也会集成奇偶校验功能,检查解码输入字(R[7:0]、G[7:0]、B[7:0]外加HS、VS和DE数据位)上的奇校验,并指示是否在其CPO输出引脚(激活HIGH)上发生奇偶校验错误。当发生奇偶校验错误时,会输出最近的无错误像素数据而非接收的无效像素数据。
接收器模式中的PTN3700提供可选高级帧混合功能,通过对24位视频输入数据应用的像素数据处理算法,使18位显示器能有效显示24位彩色分辨率。
可选择两种串行传输方法之一:基于像素时钟的伪源同步传输,或基于位时钟的真源同步传输。后者使用的方法,特点是零开销和保证操作不会发生错误像素同步。
PTN3700根据基本信号(并行CMOS以及高速串行数据和时钟)是用作发送器还是接收器(使用引脚TX/RX)来自动旋转其顺序。另外,两个引脚连接选择位(输入PSEL[1:0])允许四个额外信号顺序配置。这能允许各种技术的印刷电路板或柔性箔布局而无需交叉走线,并能将PTN3700轻松引入现有的“并行”设计,避免电路板重新布局。
PTN3700采用56引脚VFBGA封装且工作温度范围为-40 °C至+85 °C。
|
|
|
|
|
|
|
|---|---|---|---|---|---|
|
|
|
|
|
|
|
|
|
|
|
|
|
|
|
|
|
|
|
|
|
|
|
|
|
|
|
|
|
|
|
|
|
|
|
|
|
|
|
|
|
|
|
|
|
|
|
|
|
|
|
|
|
|
|
|
|
|
|
|
|
|
|
|
|
|
|
|
|
|
快速参考恩智浦 文档类别
3 文件
紧凑列表
安全文件正在加载,请稍等