单线CAN收发器

滚动图片以放大

产品详情

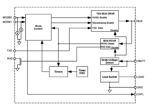
框图

MC33897_BD

NXP<sup>&#174;</sup> MC33897 Internal Block Diagram

特征

  • 波形整形,实现低电磁干扰(EMI)
  • 检测并自动处理接地失效
  • 最坏情况下睡眠模式电流消耗仅为60 μA
  • 电流限制可防止因为总线短路而损坏
  • 总线输出提供内置热关闭
  • 针对车辆电气瞬变提供保护
  • 欠压锁定可防止因为电池电量低而丢失数据

购买/参数










































































































文档

快速参考恩智浦 文档类别

5 文件

紧凑列表

勘误表 (1)
应用笔记 (2)
数据手册 (1)
选型指南 (1)

设计文件

软件

快速参考恩智浦 软件类型.

1 软件产品

工程服务

5 工程服务

要查找支持该产品的其他合作伙伴产品,请访问我们的 合作伙伴市场.

支持

您需要什么帮助?