
绝对数字压力传感器(20至110kPa)
自2026年2 月2日起,恩智浦MEMS传感器产品已转移至意法半导体。如需更多信息,请联系意法半导体。
FXPS7115DI4ST1和FXPS7115DS4ST1是新设计的推荐设备,因为FXPS7115DI4T1和FXPS7115DS4T1已经停产。
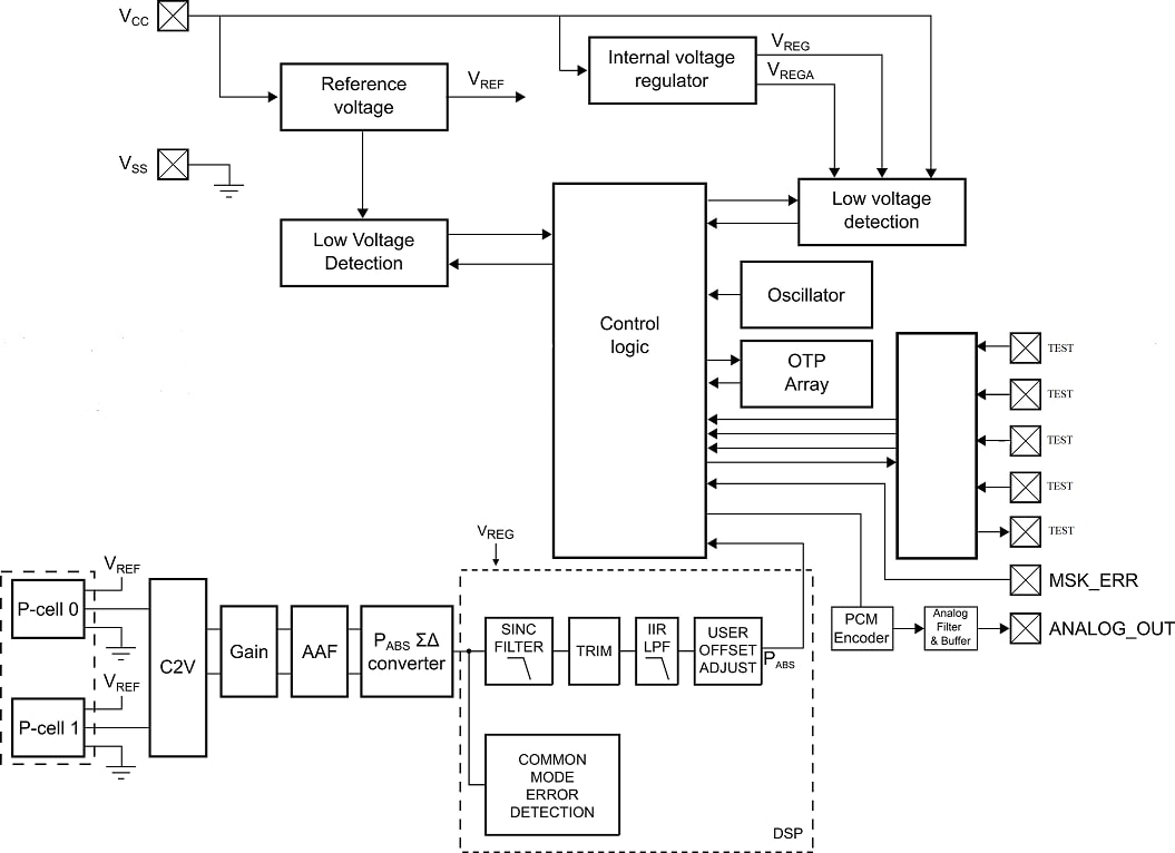
FXPS7115D4高性能、高精度绝对气压(BAP)传感器包含紧凑的电容式MEMS器件与数字集成电路,可产生完全校准的数字输出。
该传感器工作压力范围为40kPa至115kPa,温度范围为−40°C至130°C。它符合AEC-Q100的要求,精度高,性能可靠以及介质电阻率高,适用于汽车、工业和消费者应用。

|
|
|
|
|
|
|
|---|---|---|---|---|---|
|
|
|
|
|
|
|
|
|
|
|
|
|
|
|
|
|
|
|
|
|
|
|
|
|
|
|
|
|
|
|
|
|
|
|
|
|
|
|
|
|
|
|
|
|
|
|
|
|
|
|
|
|
|
|
|
|
|
|
|
|
|
|
|
|
|
|
|
|
|
快速参考恩智浦 文档类别
3 文件
紧凑列表
安全文件正在加载,请稍等
2 工程服务
There are no results for this selection.
要查找支持该产品的其他合作伙伴产品,请访问我们的 合作伙伴市场.