Javascript must be enabled to view full functionality of our site.
NXP
产品
应用
设计中心
技术支持
公司
在线购买
语言
English
中文
日本語
한국어
订单
中文
BGA6130中等功率放大器评估套件
OM7828
接收通知
滚动图片以放大
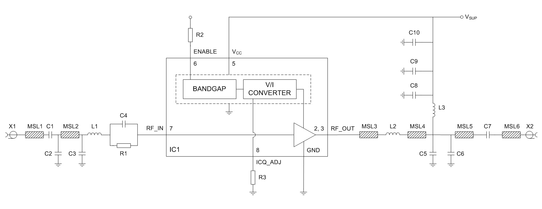
OM7828 functional diagram
BGA6130中等功率放大器套件简化了BGA6130中等功率放大器的评估。它包含两个匹配50Ω阻抗的射频板,适用于434MHz和915MHz这两个工业、科研和医疗频段。它的工作电压为3.6V,消耗电流为70mA。包含备用印刷电路板和SMA连接器。可以用于实现定制设计的匹配电路,例如在USB闪存驱动上使用该套件中的设备型号进行设计。该套件还提供BGA6130原型示例和产品文档。
产品详情
支持的器件
特点
应用
支持的器件
射频
旧型号射频低中功率放大器
BGA6130
:
400 MHz至2700 MHz 1 W高效率硅放大器
特性
主要特性
用于定制设计的面包板
面向原型制作的样品
设备型号和S参数
开箱即用,评估完整装配的ISM 434MHz和ISM 915MHz射频板
应用
工业控制
WLAN/ISM/RFID
卫星电视共用天线系统(SMATV)
宽带CPE/MoCA
工业应用
无线传感器网络
支持
您需要什么帮助?
Narrow your search
搜索
推荐链接
在恩智浦技术社区提问