点击图片以展开
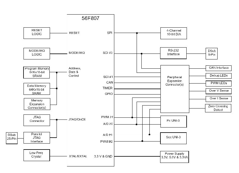
56F807EVM是一个低成本套件,包含快速评估56F807数字信号控制器和工具的特性和功能所需的一切,还为硬件和软件的开发提供了经济高效的工具。它可以单独使用,也可以结合我们的各种模块化运动控制开发硬件一起使用。应该在运行Windows 95、Windows 98、Windows 2000、Windows ME和Windows NT 4.0的PC兼容系统上使用DSP56F807EVM套件。
归档的内容不再更新,仅作为历史记录参考。
快速参考恩智浦 文档类别
1 文件
紧凑列表
安全文件正在加载,请稍等
3 设计文件
快速参考恩智浦 软件类型.
4 软件文件
注意: 推荐在电脑端下载软件,体验更佳。