低复用率通用LCD驱动器

  • 本页面包含有关样品阶段产品的信息。此处的规格和信息如有更改,恕不另行通知。如需了解其他信息,请联系支持人员或您的销售代表。

查看产品图片

产品详情

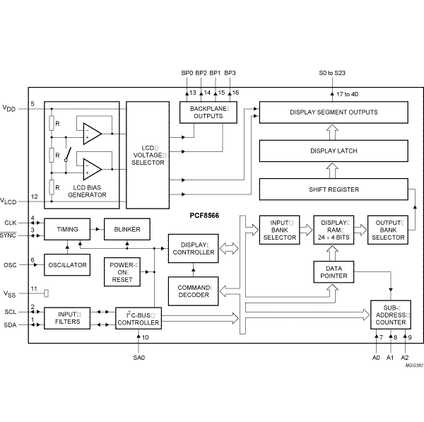
框图

PCF8566P, PCF8566T, PCF8566TS, PCF8566U

特性

主要特性

  • 单芯片LCD控制器/驱动器
  • 24个段码驱动
  • 最多20个包括小数点的7段码数字字符
  • 最多6个14段码字母数字字符
  • 最多96元素的任何图形
  • 通用闪烁模式
  • 无需外部组件(即使在多器件应用中)
  • 可选背板驱动配置:静态或者2、3、4背板多路复用
  • 可选显示偏置配置:静态、1/2或1/3
  • 带有电压跟随缓冲器的内部LCD偏置生成
  • 用于存储显示数据的24 × 4位RAM
  • 跨越器件子地址边界进行自动递增显示数据加载
  • 静态和1/2驱动模式的显示存储器组切换
  • 可分离LCD和逻辑电源
  • 2.5 V至6 V的电源范围
  • 低功耗
  • 使电池供电和电话应用的功耗极低的节电模式
  • I²C总线接口
  • TTL和CMOS兼容
  • 兼容任何4、8或16位微处理器或微控制器
  • 可级联进行大型LCD应用(最多可有1536个元素)
  • 可级联40段LCD驱动器PCF8576C
  • 两个或多个PCF8566应用中平面配线的优化引脚连接
  • 省空间40引脚塑料极小型封装(VSO40; SOT158-1)
  • 用硅栅CMOS工艺制造

购买/参数










































































































文档

快速参考恩智浦 文档类别

10 文件

紧凑列表

包装信息 (1)
封装信息 (1)
应用笔记 (3)
手册 (1)
支持信息 (1)
数据手册 (1)
用户指南 (2)

设计文件

支持

您需要什么帮助?