包装信息 (1)
封装信息 (1)
数据手册 (1)
-
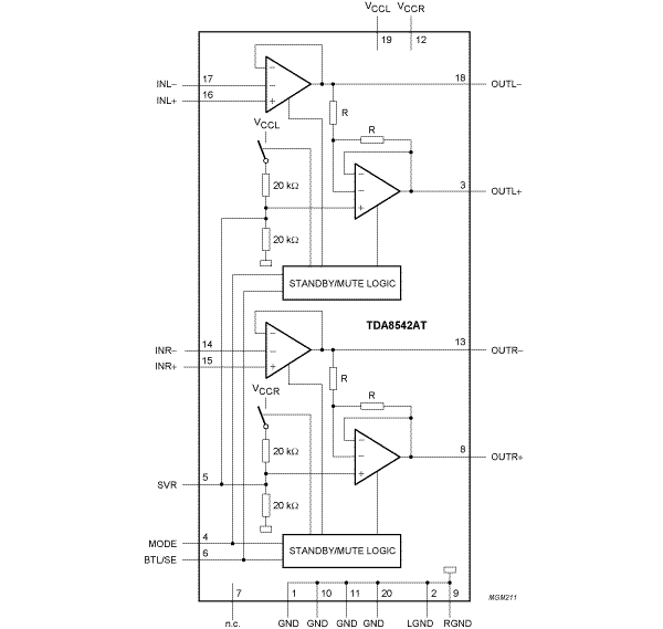
2 x 1.5 W BTL audio amplifier[TDA8542AT]
TDA8542AT是双声道音频功率放大器,在电源电压为6 V时向8 Ω负载提供2 × 1.5 W的输出功率。该电路包含两个桥接式负载(BTL)放大器,配有互补PNP-NPN输出级和备用/静音逻辑。TDA8542AT采用20引脚SO封装。
|
|
|
|
|
|
|
|---|---|---|---|---|---|
|
|
|
|
|
|
|
|
|
|
|
|
|
|
|
|
|
|
|
|
|
|
|
|
|
|
|
|
|
|
|
|
|
|
|
|
|
|
|
|
|
|
|
|
|
|
|
|
|
|
|
|
|
|
|
|
|
|
|
|
|
|
|
|
|
|
|
|
|
|
快速参考恩智浦 文档类别
3 文件
紧凑列表
安全文件正在加载,请稍等