包装信息 (1)
封装信息 (1)
应用笔记 (2)
支持信息 (1)
-
Footprint for wave soldering[SSOP-TSSOP-VSO-WAVE]
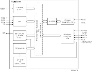
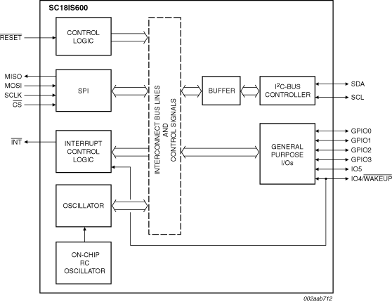
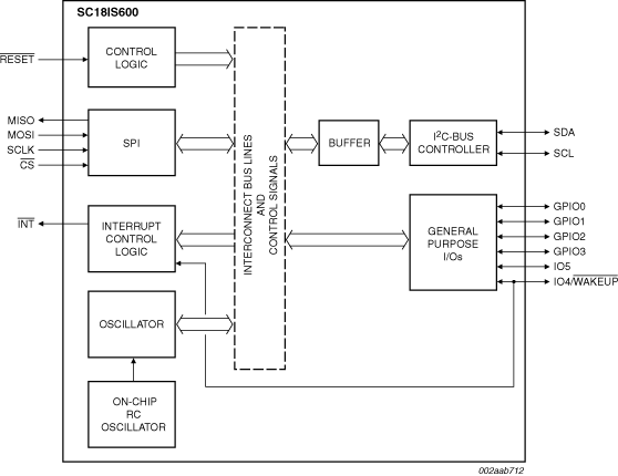
SC18IS600可用作主机(微控制器、微处理器、芯片组等)标准SPI和串行I²C总线之间的接口。允许主机与其他I²C总线器件直接通信。SC18IS600用作I²C总线主发送器或主接收器。SC18IS600控制所有I²C总线特定序列、协议、仲裁和定时。
|
|
|
|
|
|
|
|---|---|---|---|---|---|
|
|
|
|
|
|
|
|
|
|
|
|
|
|
|
|
|
|
|
|
|
|
|
|
|
|
|
|
|
|
|
|
|
|
|
|
|
|
|
|
|
|
|
|
|
|
|
|
|
|
|
|
|
|
|
|
|
|
|
|
|
|
|
|
|
|
|
|
|
|
快速参考恩智浦 文档类别
5 文件
紧凑列表
安全文件正在加载,请稍等