设计文件
收到完整的详细信息。 请参阅产品足迹及更多信息 电子CAD文件.
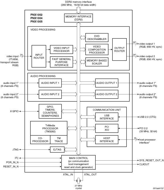
PNX1005基于TriMedia DSP技术,支持针对高清视频压缩、解压缩、分析和改进的可编程信号处理。其支持多种视频压缩标准,如H.264、MPEG®-4、MJPEG等等。PNX1005可在HD 1080p图像处理中处理输入和输出上的全1080p/60。PNX1004是成本优化的版本,采用更小型的封装。PNX1002是用于定点和浮点中音频处理的音频数字信号处理器(DSP),专注于音频声音处理。还提供针对PNX1005的开发板:OM4965是一个PCI开发板,具有HDMI输入和输出以及4通道视频输入。OM4966是完整的参考设计,适用于16通道DVR解决方案。OM4967是独立的开发板,具有HDMI输入和输出、8通道视频输入、SATA、以太网等接口。可从恩智浦获取完整的软件开发工具包。要获取该软件,请在www.tcshelp.com上进行注册
