封装信息 (1)
-
plastic leaded chip carrier; 44 leads[SOT187-2]
应用笔记 (1)
支持信息 (1)
-
Footprint for wave soldering[PLCC-WAVE]
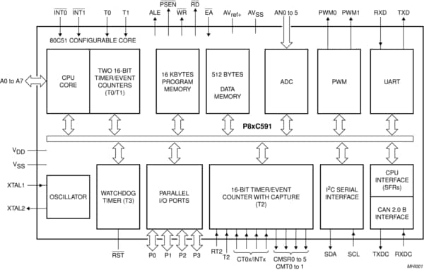
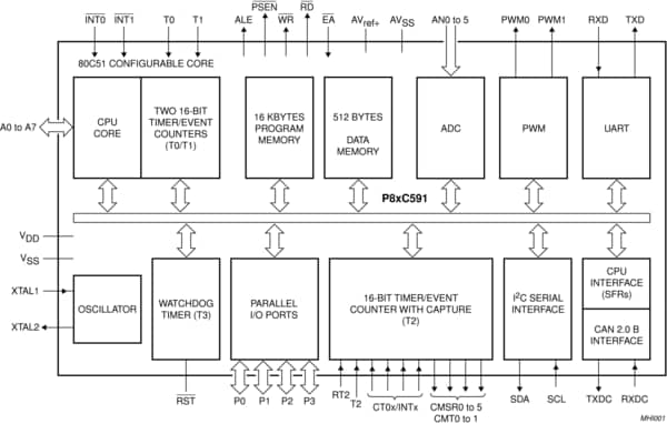
P8xC591是单芯片8位高性能微控制器,具有片内CAN控制器,由80C51微控制器系列衍生而来。
其使用强大的80C51指令集,包括飞利浦半导体的SJA1000 CAN控制器的成功的PeliCAN功能。
完全静态的核心提供了扩展省电设置,因为振荡器可以停止并轻松重新启动而不丢失数据。改进的1:1内部时钟分频器在12 MHz的外部时钟速率下可实现500纳秒的指令周期时间。
微控制器通过高级CMOS工艺制造,专为在汽车和一般工业应用中使用而设计。除80C51标准功能外,该设备还为这些应用提供各种专用硬件功能。
P8xC591有两个版本:
此后,这些版本将称为P8xC591。温度范围包括(最大fCLK= 12 MHz):
P8xC591和P87C554之间的主要区别是:
|
|
|
|
|
|
|
|---|---|---|---|---|---|
|
|
|
|
|
|
|
|
|
|
|
|
|
|
|
|
|
|
|
|
|
|
|
|
|
|
|
|
|
|
|
|
|
|
|
|
|
|
|
|
|
|
|
|
|
|
|
|
|
|
|
|
|
|
|
|
|
|
|
|
|
|
|
|
|
|
|
|
|
|
快速参考恩智浦 文档类别
4 文件
紧凑列表
安全文件正在加载,请稍等