封装信息 (1)
-
plastic leaded chip carrier; 68 leads[SOT188-2]
支持信息 (1)
-
Footprint for wave soldering[PLCC-WAVE]
80C552/83C552(以下统称为8XC552)单芯片8位微控制器通过高级CMOS工艺制造,是80C51微控制器系列的衍生产品。8XC552与80C51具有相同的指令集。
存在三个版本的衍生产品:
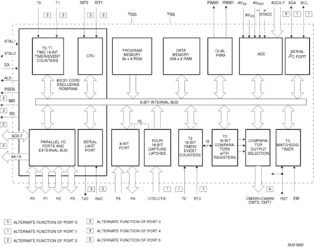
8XC552包含一个8k ? 8非易失性只读程序存储器(83C552),一个256 ? 8读/写数据存储器,五个8位I/O端口,一个8位输入端口,两个16位定时器/事件计数器(与80C51的定时器类似),一个与捕获和比较锁存配套的额外的16位定时器,一个15源,两优先级嵌套中断结构,一个8输入ADC,一个双DAC脉宽调制接口,两个串行接口(UART和I²C总线),一个“看门狗”定时器和片内振荡器以及定时电路。对于需要额外功能的系统,8XC552可以使用标准TTL兼容内存和逻辑进行扩展。
此外,8XC552具有降低能耗空闲模式和掉电模式这两种可选软件模式。空闲模式冻结CPU同时允许RAM、定时器、串口和中断系统继续工作。掉电模式保存RAM内容但冻结振荡器,从而使所有其它芯片功能失效。
该设备还具有算术处理器功能,同时具有二进制和BCD算术以及位处理能力。指令集包括超过100个指令:49个单字节、45个双字节和17个三字节。凭借16 MHz (24 MHz)晶体,58%的指令在0.75 us (0.5 us)内执行,40%在1.5 us (1 us)内执行。乘和除指令需要3 us (2 us)。

| | | | | |
|---|---|---|---|---|---|
| | | | | |
| | | | | |
| | | | | |
| | | | | |
| | | | | |
| | | | | |
| | | | | |
| | | | | |
| | | | | |
| | | | | |
快速参考恩智浦 文档类别
3 文件
紧凑列表
该选项下未搜到结果。
安全文件正在加载,请稍等
3 文件
紧凑列表
收到完整的详细信息。 请参阅 eCad 文件中的产品足迹等。
There are no recently viewed products to display.