封装信息 (1)
-
plastic ball grid array package; 452 balls[SOT1096-1]
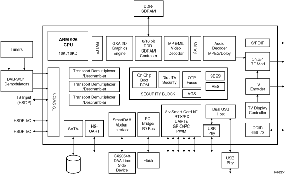
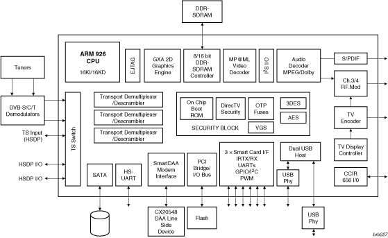
The CX2425x family offers an MPEG®-2 MP@ML decoder (Dolby Digital audio is optional), multiple transport stream inputs, a transport processor, a 32-bit RISC CPU, a 2D graphics accelerator, a TV encoder, a channel 3/4 RF modulator, a video/graphics display compositing controller, and a set of peripheral I/O ports for set-top box (STB) front and back panel connectors.
|
|
|
|
|
|
|
|---|---|---|---|---|---|
|
|
|
|
|
|
|
|
|
|
|
|
|
|
|
|
|
|
|
|
|
|
|
|
|
|
|
|
|
|
|
|
|
|
|
|
|
|
|
|
|
|
|
|
|
|
|
|
|
|
|
|
|
|
|
|
|
|
|
|
|
|
|
|
|
|
|
|
|
|
快速参考恩智浦 文档类别
安全文件正在加载,请稍等