培训资料 (1)
-
DesignCon 2003 TecForum I²C-Bus Overview[DESIGN_CON_2003_TECFORUM_I2C_B_1]
封装信息 (1)
应用笔记 (6)
数据手册 (1)
-
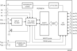
Remote 8-bit I/O expander for I2C-bus with interrupt[PCF8574_PCF8574A]
用户指南 (2)
-
PCA9698 demonstration board OM6281[UM10267]



