封装信息 (1)
应用笔记 (2)
-
ESD and EMC sensitivity of IC[AN10853]
-
AN10652[AN10652]
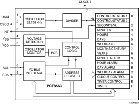
PCF8563是一款CMOS实时时钟(RTC)和日历,最适合低功耗应用。还提供可编程时钟输出、中断输出和电压过低检测器。通过两线双向I²C总线串行传送所有地址和数据。最大总线速度为400 kbit/s。寄存器地址会在每次写入或读取数据字节后自动递增。
|
|
|
|
|
|
|
|---|---|---|---|---|---|
|
|
|
|
|
|
|
|
|
|
|
|
|
|
|
|
|
|
|
|
|
|
|
|
|
|
|
|
|
|
|
|
|
|
|
|
|
|
|
|
|
|
|
|
|
|
|
|
|
|
|
|
|
|
|
|
|
|
|
|
|
|
|
|
|
|
|
|
|
|
快速参考恩智浦 文档类别
6 文件
紧凑列表
安全文件正在加载,请稍等