可编程LIN 1.3交流发电机电压调节器

  • 本页面包含有关样品阶段产品的信息。此处的规格和信息如有更改,恕不另行通知。如需了解其他信息,请联系支持人员或您的销售代表。

产品详情

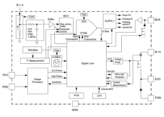
框图

TC80310 Block Diagram

TC80310 Block Diagram

特征

  • 集成高边励磁(磁场)驱动器
  • 内部续流二极管
  • 转子励磁线圈电流可达8.0A
  • 负载响应控制(LRC)
  • 热保护
  • 热补偿
  • 稳定可靠的LIN 1.3接口
  • 调节电压可选择10.6V至16V
  • 通过LIN通信控制转子电流,监测电机和芯片状态
  • 提供自启动运行功能(LIN断开时)
  • 带有多种调整的闭环调节系统(内部斜坡、数字滤波)

文档

快速参考恩智浦 文档类别

2 文件

紧凑列表

设计文件

支持

您需要什么帮助?